Görüntüleme sayısı:0 Yazar:Bu siteyi düzenle Gönderildi: 2022-05-25 Kaynak:Bu site
kesme zinciri tasarımı Hücre tipi kauçuk çamurluğun
Gemi rıhtıma yanaştığında, gemilerin çoğu ilk olarak pruvadan veya kıçtan 1/3 ve 1/4 boylarında rıhtıma çarpacaktır.Rıhtımın darbe önleyici ekipmanı olarak, lastik çamurluk, yalnızca rıhtım duvarına dik olan normal darbe kuvvetini değil, aynı zamanda rıhtım duvarına paralel teğetsel kuvveti de taşımalıdır.Normal çalışma koşulları altında, hücre tipi kauçuk çamurluk, geminin teğetsel kuvvetine dayanabilir.Bununla birlikte, kauçuk çamurluk namlusunun kesme deformasyonu belirtilen gereksinimleri aştığında, kesme zinciri kauçuk çamurluk namlusunun kayma deformasyonunu önlemelidir.Bu nedenle, kesme zinciri, tambur çamurluğun normal çalışmasını ve makul performansını sağlamada önemli bir rol oynar.
Tambur kauçuk çamurluk kesme zincirinin tasarım yöntemi aşağıda tanıtılmıştır.
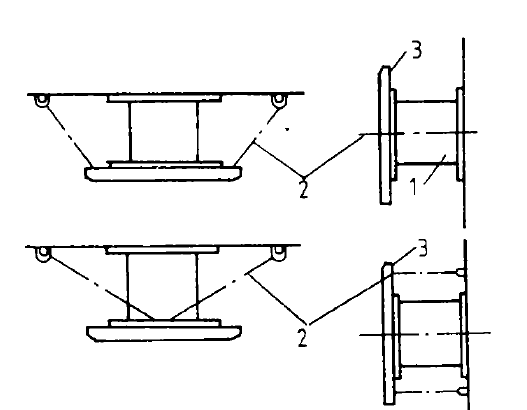
Kesme zinciri genellikle bir ucu kauçuk çamurluğun her iki tarafında düzenlenir (Şekil I). çarpma önleyici plakaya ve diğer ucu rıhtım duvarına sabitlenmiş olarak Kesme zinciri genellikle sıradan zinciri benimser, spesifikasyonu ve miktarı, kauçuk çamurluğun spesifikasyonu, kauçuk çamurluğun düzenlenmesi ve anti-darbe plakasının boyutu ile belirlenir.

Şekil I
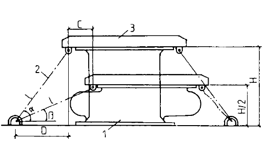
Kesme zincirinin tasarım ilkesi, hücre kauçuk çamurluğun kesme deformasyonunun, en elverişsiz yanaşma koşulları altında belirtilen gereksinimleri aşmamasını sağlamaktır.Tambur kauçuk çamurluğun tasarım deformasyon oranının %50 ve izin verilen kesme deformasyonunun C olduğu varsayılmaktadır. Şekil 2'de gösterildiği gibi
C: Tambur tipi kauçuk çamurluğun izin verilen kesme deformasyonu;
D: Boşaltma durumunda kauçuk çamurluğun rıhtım duvarındaki kesme zincirinin yatay izdüşümü;
H: davul kauçuk çamurluk yüksekliği.
Hücre tipi kauçuk usturmaça kesme zinciri, kauçuk usturmaçanın her iki tarafında yatay olarak düzenlenecektir.
Uzunluk l, formüle göre hesaplanır.Bir ucu darbe önleyici plakaya sabitlenir ve diğer ucu gömülü U-halkasına sabitlenir